Nokia UltraSite BTS

A 2. generációs (2G) mobil hálózatok az 1990-es évek elején kezdtek terjedni. Magyarországon az első GSM technológiát használó mobilszolgáltató a Pannon GSM (később Telenor, ma Yettel) volt, 1994. március 26-án indult el a szolgáltatás. Ezek a hálózatok már teljesen digitális elven működtek, több beszédcsatornát, hatékonyabb spektrum kihasználást kínáltak. A hanghívás mellett megjelenik az SMS, később pedig lehetőség nyílik internet kapcsolat használatára is először még áramkörkapcsolt (CS, CSD, HSCSD), később pedig csomagkapcsolt (PS, GPRS, EDGE) technikával.

2G / GSM bázisállomás, mini mobil hálózat
2G / GSM bázisállomás, mini mobil hálózat

Az első generációs bázisállomásokat a forgalom dinamikus bővülése miatt hamar cserélni kellett, így az 1990-es évek végétől a Nokia Talk bázisállomásokat fokozatosan váltotta fel a Nokia Site család, mely három féle méretben volt elérhető: Nokia Insite, Nokia MetroSite és a Nokia UltraSite. A legkisebb InSite egy wifi router méreteivel rendelkezett, kis teljesítmény, és alapvetően a beltéri lefedettség javítása volt a feladata (plázák, parkolóházak stb.). A közepes méretű MetroSite alapvetően a sűrűn beépített városi környezetben biztosított lefedettséget, ahol műemléki vagy egyéb okok miatt nem volt lehetséges nagyobb méretű állomás létesítése. A termékcsalád csúcsa a kiállításon is látható Nokia UltraSite, mely alapvetően nagy kapacitású nagy lefedettségű mobil hálózat kialakítására volt alkalmas. Teljes kiépítésben akár 192 egyidejű beszédcsatornát is képes volt kiszolgálni, maximális lefedettsége elérhette a 35km sugarú kört (speciális esetben akár 70km is lehetett, de a hazai szolgáltatók ezt nem használták). Az UltraSite hamarosan a mobil hálózatok gerincévé vált, a három hazai szolgáltató közül kettő ilyen állomásokból építette fel a rádiós hálózatát.

Az UltraSite család három féle kivitelben készült: a nagy méretű kültéri és beltéri változat belső váza gyakorlatilag megegyezett, a kültéri változat a beltéri verzió köré épített megerősített burkolatból, hűtő egységből és nagy teljesítményű szellőzésből állt. Létezett egy kisebb (közepes) méretű úgynevezett midi változat is, mely fele annyi (összesen 6) TRX-et tudott kiszolgálni. Ezeket jellemzően olyan helyekre telepítették, ahol alapvetően a lefedettség javítása volt a cél, de nem volt igény nagyobb kapacitásra.

A Nokia UltraSite bázisállomás család változatai

A Nokia UltraSite bázisállomás főbb részei:

TÁP: a táp kártyák alakítják át a távközlésben széleskörben elterjedt -48 Volt egyen feszültséget (DC) a bázisállomás számára is használható feszültséggé. Kettő vagy több kártya esetén biztosított a redundancia, illetve a hibás alkatrészek menet közben cserélhetők.

BOIA kártya: ez a bázisállomás fő vezérlő kártyája. Tárolja az operációs szoftvert (firmware), a konfigurációt, biztosítja és ellenőrzi a nagy pontosságú órajel forrást (fűtött oszcillátor (OCXO)), összeköttetést teremt a bázisállomás részei között a hátlapon található kapcsolódási pontokon keresztül.

BB kártya: ezek a kártyák felelősek az alapsávi és digitális jelfeldolgozásért. Egy kártya két TRX-et tud kiszolgálni, ez 16 GSM időrést, és legfeljebb 30 párhuzamos beszédcsatornát jelent.

TRX:  transzverter, a rádiós hálózat lelke. A BB kártya által előállított alapsávi jelből előállítja az antennákhoz menő szélessávú rádiójelet, amit a telefonok venni képesek. Az érzékenység javítása érdekében duplex szűrővel rendelkezik, nagy teljesítményű erősítést (PA) és előerősítést (LNA) végez. Az UltraSite-ban található TRX-ek kimenő rádiós teljesítménye 40 watt (46dBm). Egy TRX összesen 8 GSM időrést, maximum 16 beszédcsatornát tud kiszolgálni. Egy UltraSite bázisállomás maximum 12 TRX-et képes kezelni.

A bázisállomás fontos része még az úgynevezett hátlapi csatlakozó sor (backplane), melyen keresztül a kártya rendszerű részegységek kommunikálni tudnak egymással.

A Nokia UltraSite bázisállomás funkcionális részei
A Nokia UltraSite bázisállomás funkcionális részei

Az előfizetők nagyrésze a mobil hálózatnak csak azzal a részével találkozik, amely kültéren szabad szemmel is látható. Ezek jórészt a bázisállomás torony szerkezetét, a szektor sugárzó antennákat, illetve a mikrohullámú antennákat, esetleg azokat a kültéri rendezőket jelenti, amik az eszközöket az időjárástól védik. Fontos azonban megérteni, hogy a mobilhálózat összetett rendszer, önmagában a bázisállomás nem működőképes, számos úgynevezett maghálózati funkcióra van szükség az egyes szolgáltatások működéséhez. A legfontosabb 2G maghálózati elemeket az alábbi ábra szemlélteti:

A legfontosabb 2G maghálózati elemek

A BTS maga a bázisállomás, ez látható a kiállításon. A rádiós és maghálózat egyéb részeit nyílt forrású szoftver, az Osmo-CNI segítségével keltjük életre. A mobil hálózat rádiós részének szüksége van rádiós hálózati vezérlőre (BSC), mely koordinálja az egyes bázisállomások működését, felügyelik azok kapacitását, összehangolja az állomások közötti hívásátadást, monitorozza a rádiós hálózat állapotát, melyről jelentéseket küld a központi felügyeleti rendszer (OSS/NMS) felé. Ahhoz, hogy telefonálni tudjunk, szükség van még a mobil kapcsoló központra is (MSC), leginkább a klasszikus telefonközponthoz hasonlít a funkciója. A hálózat része még az ügyféladatbázis (HLR/VLR), melyben a SIM kártyákhoz kötődő adatokat (egyedi azonosítók, kulcsok, előfizetői profilok stb.) tároljuk. Az EIR alapvetően a lopott készülékek IMEI adatait tárolja, így lehet kitiltani adott készülékeket a hálózatból. A mobilhálózatnak része még az SMS-C vagy SMS center, mely a rövid szöveges üzenetek tárolásáért és továbbításáért felel. Fontos megjegyezni, hogy az egyszerűség kedvéért a fenti kép csak a hanghívások kiszolgálásához szükséges legfontosabb elemeket tartalmazza, valójában a mobil maghálózat ennél sokkal összetettebb: számos egyéb funkcióval és összeköttetéssel rendelkezik. Különösen akkor válik bonyolulttá a helyzet, ha a vezetékes, roaming és egyéb külső hálózati összeköttetéseket is figyelembe vesszük.

A kiállításon látható mini mobilhálózat maghálózati elemeit a nyílt forrású Osmocom-CNI segítségével keltjük életre, a hálózat egészének funkcionális vázlata az alábbi képen látható:

Osmocom-CNI hálózat funkcionális vázlata

A számítógép szabványos linux operációs rendszert futtat (Ubuntu), a képen látható maghálózati funkciókon kívül található rajta telefonközpont (PBX), illetve a bázisállomással való kommunikációt lehetővé tevő béreltvonali (E1) kártya, mely egy darab 2Mbit/s-os PRI interfésszel rendelkezik. Ezek a viszonylag koros bázisállomások még nem voltak képesek csomagkapcsolt (Ethernet) módon kommunikálni, ezért van szükség E1 kártyára, ami áramkörkapcsolt elven működik.

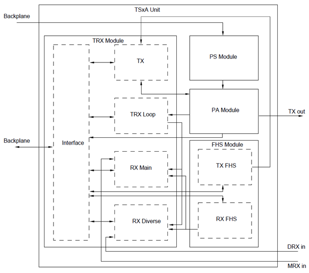
Az alábbi kép egy TRX modul funkcionális részeit mutatja be:

TRX modul funkcionális részei

A kommunikáció az állomás többi részével a hátlapi (backplane) interfészen zajlik. A TRX egyszerre ad (TX) és vesz (RX), egy adó ággal (TX out) és két vételi ággal (DRX in és MRX in) rendelkezik.

Az adáshoz az alapsávi (BB) kártya által előállított rádió jel a hátlapi interfészen keresztül érkezik az adó egységbe (TX Module), mely az alapsávi jelet szélessávú jellé alakítja (felkeveri), majd a nagy teljesítményű erősítő segítségével előáll a végső kisugárzásra kész rádió jel. Az adó ágban ún. állóhullám-arány méréssel (VSWR) ellenőrzi az állomás, hogy nincs-e probléma akár a kábelezéssel, a csatlakozásokkal vagy az antennával, hiba esetén a TRX védelme leold és az adás megszűnik, ilyen módon megóvható az érzékeny elektronika a károsodástól.

A vételi oldalon két ág található: elsődleges (MRX in) és másodlagos (DRX in). A másodlagos ág funkciója az, hogy a modern kereszt-polarizált antennák és ügyes digitális jelfeldolgozás segítségével (diversity és MRC kombinálás) javítsa a vételi érzékenységet. Optimális esetben két vételi ág akár a duplájára is növelheti a vételi érzékenységet.

A bázisállomás rádiós részének funkcionális vázlata

Kombinált duplex szűrő és előerősítő modul (DVGA):

A DVGA modulra két okból van szükség. Egyrészt duplex szűrést végez, ami annyit jelent, hogy szétválasztja az előre (downlink) és vissza (uplink) irányhoz tartozó frekvenciákat, mivel a 2G/GSM hálózat full duplex rendszerű (párhuzamos adás és vétel), így a vétel és az adás eltérő frekvenciáit szét kell választani. A duplex távolság az 1800MHz-es frekvencia sávon 95MHz, a 900MHz-es frekvencián 45MHz.

Mivel a bázisállomások sokkal nagyobb teljesítménnyel sugároznak, mint amire a telefon képes, ezért jelentős aránytalanság alakul ki az előre és a vissza irányok között: jelentős terület alakulhat aki, ahol a telefon még képes venni a bázisállomást, de a bázisállomás már képtelen meghallani a telefon adását. Ez a probléma teljesen nem szüntethető meg, de a telefonok által kisugárzott jel előerősítésével nagymértékben csökkenthető. Ezt az előerősítést a DVGA modulban található LNA végzi, melynek mértéke változtatható.

Azt már megfigyelhettük, hogy a 2G mobilhálózat rádiós építő köve a TRX. Ha nagyobb kapacitásra, több beszéd csatornára van szükségünk, akkor több TRX-et kell ugyanarra a szektor sugárzó antennára bekötni. Ezt a TRX és a DVGA modulok közötti osztók (Splitter) segítségével lehet megtenni. Legfeljebb 6 TRX kapacitása kombinálható össze egyet szektor antennán.

A kiállításon bemutatandó darab a Pannon GSM hálózatában működött, helyileg a debreceni Burgundia utcában.

 Az UltraSite család a 90-es évek közepétől kezdett a hálózatokba beépülni, leszerelésük a 2010-es években kezdődött el, de az utolsó darabokat 2014-2015-ig használták.

Sipos Csaba
2023. szeptember 10.